Metal Seal Gate Valve
  • Metal Seal Gate Valve

Metal Seal Gate Valve

Metal Seal Gate Valve

Size Range: 2''-32''/DN50-DN800

Pressure: 5K/10K/150LB

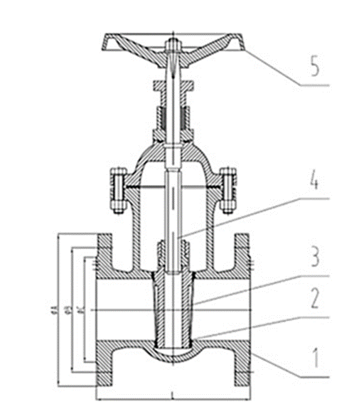
Body Materials: cast iron

Seat Materials: Welding brass

Disc Materials: cast iron

Stem Materials: Q235


Product Features:

Low torque operation
 Rubber encapsulated wedge
 Clockwise closing direction
 Fusion bonded epoxy coated inside and outside